本篇文章给大家带来了关于php+socket的相关知识,其中主要介绍了什么是socket?php+socket如何实现客户端与服务端数据传输?感兴趣的朋友下面一起来看一下,希望对大家有帮助。
socket介绍
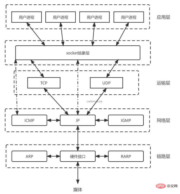
实现网络进程之间的通信,几乎所有应用程序都是采用 socket,socket 是应用层与 TCP/IP 协议族通信的中间抽象层,它是一组接口。在设计模式中,socket 其实是一个门面模式,它把复杂的 TCP/IP 协议族隐藏在 socket 接口后面,对用户来说,一组简单的接口就是全部,让 socket 去组织数据,以符合指定的协议

socket 的英文原意是 「孔」或「插座」,通常也被称作「套接字」,用于描述 IP 地址和端口,是一个通信链的句柄,可以用来实现不同虚拟机或不同计算机之间的通信。
socket 链接的三个过程
服务端监听:IP+端口号
客户端请求:发出向服务端的 IP 以及端口的连接请求
链接确认:服务端套接字监听到或者说接收到客户端套接字连接请求,他就会建立一个新的进程,把服务端的套接字描述发给客户端,以响应客户端的请求,一旦客户端确认了此描述,连接就建立好了。儿服务端的套接字继续处于监听状态,继续接受其他客户端套接字的连接请求。

php实现socket
如果需要在 php 中使用 socket,则需要在编译 php 是添加 --enable-sockets 配置项来启用,可使用 php -m|grep sockets 命令检查启用情况,具体编译过程可参考 这篇文章
快速体验
服务端与客户端简略代码如下,运行后服务端会阻塞等待客户端连接,客户端会在控制台要求输入内容,输入后信息会在服务端打印,同时客户端显示转为大写的内容,此示例服务端与客户端运行在一台服务器:
服务端监听
<?php
// 创建套接字
$socket = socket_create(AF_INET, SOCK_STREAM, SOL_TCP);
// 设置 ip 被释放后立即可使用
socket_set_option($socket, SOL_SOCKET, SO_REUSEADDR, true);
// 绑定ip与端口
socket_bind($socket, 0, 8888);
// 开始监听
socket_listen($socket);
while (true) {
// 接收内容
$conn_sock = socket_accept($socket);
socket_getpeername($conn_sock, $ip, $port);
// echo '请求ip: ' . $ip . PHP_EOL . '端口: ' . $port;
while (true) {
// 获取消息内容
$msg = socket_read($conn_sock, 10240);
// TODO 处理业务逻辑
// 将信息转为大写并原样返回客户端
socket_write($conn_sock, strtoupper($msg));
echo $msg;
}
}客户端连接
<?php
// 创建套接字
$socket = socket_create(AF_INET, SOCK_STREAM, SOL_TCP);
// 连接服务端
socket_connect($socket, '127.0.0.1', 8888);
while (true) {
// 让控制台输入内容
fwrite(STDOUT, '请输入内容:');
$in = fgets(STDIN);
// 向服务端发送内容
socket_write($socket, $in);
// 读取服务端发送的消息
$msg = socket_read($socket, 10240);
echo $msg;
}语法解释
socket_create
socket_create(int $domain,int $type, int $protocol): resource|false
创建并返回一个套接字资源,通常也称作一个通讯节点。一个典型的 socket 由至少 2 个套接字组成,其中一个运行在客户端,一个运行在服务端。
参数:
domain指定当前套接字使用什么协议,可用协议如下:Domain 描述 AF_INET IPv4 网络协议,TCP 与 UDP 都可使用此协议 AF_INET6 IPv6 网络协议,TCP 与 UDP 都可使用此协议 AF_UNIX 本地通讯协议,具有高性能与低成本的 IPC type用户指定当前套接字使用的类型type 描述 SOCK_STREAM 可顺序化的、可靠的、全双工的、基于链接的字节流,支持数据传送流量控制机制。TCP 协议基于这种流式套接字。 SOCK_DGRAM 数据报文的支持(无连接、不可靠、固定最大长度)UDP 协议基于这种报文套接字 SOCK_SEQPACKET 可顺序化的、可靠的、全双工的、面向连接的、固定最大长度的数据通信,数据端通过接收每一个数据段来读取整个数据包 SOCK_RAW 读取原始的网络协议,这种特殊的套接字可用于手工构建任意类型的协议,一般使用这个套接字来实现 ICMP 请求 SOCK_RDM 可靠的数据层,但不保证到达顺序,一般的操作系统都未实现此功能 protocol设置指定 domain 套接字下的具体协议,如果所需协议是 TCP 或者 UDP,可以直接使用常量SOL_TCP或SOL_UDP,这个参数的具体值可通过getprotobyname()函数获取
返回值
socket_create() 正确时返回一个套接字资源,失败时返回 false。可以调用 socket_last_error() 获取错误码,错误码可以通过 socket_strerror(int $err_no) 转换为文字的错误说明。
socket_bind
socket_bind(resource $socket, string $address [, int $port]): bool
绑定一个地址与端口到套接字
参数:
socket使用socket_create()创建的套接字资源address如果套接字是
AF_INET族,那么address必须是一个四点法的 IP 地址,例如127.0.0.1、0.0.0.0如果套接字是
AF_UNIX族,那么address是 Unix 套接字一部分(例如/tmp/my.sock)port(可选)该参数仅用于使用
AF_INET族时,指定当前套接字监听的端口号
返回值:
绑定成功返回 true,失败时则返回 false,同 socket_create ,在绑定失败时可以调用 socket_last_error() 获取错误码,错误码可以通过 socket_strerror(int $err_no) 转换为文字的错误说明。
socket_listen
socket_listen(resource $socket [, int $backlog]): bool
在使用 socket_create() 创建套接字并使用 socket_bind() 将其绑定到名称之后,可能会告诉它侦听套接字上的传入连接。该函数仅适用于 SOCK_STREAM 或 SOCK_SEQPACKET 类型的套接字。
参数:
socket使用socket_create()创建的套接字资源backlog最大数量的积压传入连接将排队等待处理,如果连接请求到达时队列已满,则客户端可能会收到指示为ECONNREFUSED的错误。或者,如果底层协议支持重传,则可能会忽略该请求,以便重试可能会成功。
返回值:
绑定成功返回 true,失败时则返回 false,可以调用 socket_last_error() 获取错误码,错误码可以通过 socket_strerror(int $err_no) 转换为文字的错误说明。
socket_accept
socket_accept(resource $socket): resource|false
当有新的客户端连接时,返回一个新的 socket 资源以用于与客户端通信,如有多个连接排队,则返回第一个连接,相反如果没有待处理的连接,该函数会默认阻塞当前进程,直至新的客户端连接、断开
参数:
socket使用socket_create()创建的套接字资源
返回值:
成功时返回一个新的套接字资源,错误时返回 false,可以调用 socket_last_error() 获取错误码,错误码可以通过 socket_strerror(int $err_no) 转换为文字的错误说明。
socket_connect
socket_connect(resource $socket, string $address [, int $port = null]): bool
使用套接字实例发起到 address 的连接
参数:
socket该参数必须是由socket_create()创建的socket实例address如果套接字是
AF_INET族,那么address必须是一个四点法的 IP 地址,例如127.0.0.1如果支持 IPv6 并且套接字是AF_INET6,那么address也可以是一个有效的 IPv6 地址(例如::1)如果套接字是
AF_UNIX族,那么address是 Unix 套接字一部分(例如/tmp/my.sock)
返回值:
成功时返回 true, 或者在失败时返回 false
socket_write
socket_write(resource $socket, string $data [, int $length = null]): int|false
传输数据至指定套接字
参数:
socket使用socket_create()或socket_accept()创建的套接字资源data要发送的内容length(可选)可以指定发送套接字的替代字节长度。如果这个长度大于实际发送内容的长度,它将被静默地截断为实际发送内容的长度。
返回值:
成功时返回成功发送的字节数,或者在失败时返回 false,可以调用 socket_last_error() 与 socket_strerror(int $err_no) 获取具体错误信息
socket_read
socket_read(resource $socket, int $length, int $mode = PHP_BINARY_READ): string|false
从套接字资源内读取数据
参数:
socket使用socket_create()或socket_accept()创建的套接字资源(服务端为socket_accept()客户端为socket_create())length指定最大能够读取的字节数。否则您可以使用\r、\n、\0结束读取(根据mode参数设置)mode(可选)PHP_BINARY_READ(默认)- 使用系统的recv()函数。二进制安全地读取数据。PHP_NORMAL_READ- 读取到\n、\r时停止。
返回值:
socket_read() 返回一个字符串,表示接收到的数据。如果发生了错误(包括远程主机关闭了连接),则返回 false,可以调用 socket_last_error() 与 socket_strerror(int $err_no) 获取具体错误信息
socket_close
socket_close(resource $socket): void
关闭并销毁一个套接字资源
参数:
socket使用socket_create()或socket_accept()创建的套接字资源
返回值:
无
推荐学习:《PHP视频教程》
以上就是PHP+Socket系列之实现客户端与服务端数据传输的详细内容,更多请关注其它相关文章!
我的逗比中带着高冷