晶面间距计算公式:
正交晶系:1/d=h/a+k/b+l/c
单斜晶系:1/d2={h2/a2+k2sin 2β/b2+l2/c2-2hlcos β/(ac)}/ sin2β 2立方晶系
d=a/(h+k+l) 222
空间点阵必可选择3个不相平行的连结相邻两个点阵点的单位矢量a,b,c,它们将点阵划分成并置的平行六面体单位。
空间点阵按照确定的平行六面体单位连线划分,获得一套直线网格,称为空间格子或晶格。点阵和晶格是分别用几何的点和线反映晶体结构的周期性,它们具有同样的意义。
扩展资料:
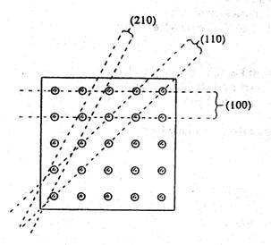
不同的{hkl}晶面,其面间距(即相邻的两个平行晶面之间的距离)各不相同。总的来说,低指数的晶面其面间距较大,而高指数面的面间距小。
晶面指数是固体物理中以初基晶胞(原胞)为坐标轴确定的指数,而密勒指数是以结晶学中的单胞晶轴为基确定的指数。但不管是哪种指数,必须使其三个指数互质。
在sc结构中,两组参数是一样的,但对于fcc和bcc结构则大不相同。按d=2π/∣G〡确定晶面间距的公式只适用于晶面指数。
晶面间距最大的面总是阵点(或原子)最密排的晶面,晶面间距越小则晶面上的阵点排列就越稀疏。正是由于不同晶面和晶向上的原子排列情况不同,使晶体表现为各向异性。
参考资料来源:百度百科——晶面间距
线到面的距离怎么算?
1.要求线到面的距离那么首先线是平行于面的,在直线上随便取一点,求这点到面的距离就行了,假设面的方程是Ax+By+Cz+D=0,直线上的点是(x0,y0,z0),
那么距离就是│Ax0+By0+Cz0+D│/(A^2+B^2+C^2)^(1/2)
2.线如果不和面相交,可以判断为平行,如果平行,线上任意一点到平面的距离是相等的.如果相交,则交点到平面的距离为0
实例:
怎样通过 gixs横坐标计算面间距
利用谢乐公式来计算 谢乐公式的应用方法Dc = 0.89λ /(B cos θ)(λ为X 射线波长, B为衍射峰半高宽, θ 为衍射角) 双线法(Williams-Hall)测定金属晶体中的微观应力 晶块尺寸小于0.1μm,且有不均匀应变时衍射线宽化。
如何计算线到面的距离?
要求线到面的距离那么首先线是平行于面的,在直线上随便取一点,求这点到面的距离就行了,假设面的方程是Ax+By+Cz+D=0,直线上的点是(x0,y0,z0),
那么距离就是│Ax0+By0+Cz0+D│/(A^2+B^2+C^2)^(1/2)。
点到平面的距离:点(x0,y0,z0)到了平面Ax+By+Cz+D=0的距离
为:d=|Ax0+By0+Cz0+D|/√(A^2+B^2+C^2)
参考资料
百度文库:https://wenku.baidu.com/view/6772ffa4f7ec4afe05a1df9a.html
怎么算防盗窗圆管间距计算公式,
1、直线面平均十等份每份点钻孔(假设孔直径1.8厘米)装等份间空格。
2、假设直线米(100CM)要十空格份:圆孔(圆钢管)直径设1.8CM,确:100CM减9(根钢管)乘直径1.8CM=8.38CM(装实际间距)
3、钻孔:8.38厘米加钢管半径0.9CM(9.28CM)始钻第孔,(两端第孔,第二往依9.28+0.9(10.18CM)钻第二至第八孔。
扩展资料:
常见的防盗窗种类按材质分:有不锈钢防盗窗、彩钢防盗窗、铁艺防盗窗、铝合金防盗窗、锌钢防盗窗、钢塑复合防盗窗、金刚网防盗窗,4框隐形防盗窗等;按使用功能来分有固定式防盗窗和可活动的多功能推拉防盗窗。
不锈钢管材材质是最常用的防盗窗材质,管材决定了防盗窗坚固程度,优质的不锈钢管材符合国家标准,要求不锈钢管材必须含有一定量镍和铬,这样才能够保证不锈钢不生锈。安全防盗是其最大特点,就是防攀(无法攀登)、防钻(打碎玻璃也钻不进去)、防撬(一体化设计,连接部分非常坚固),完全节省了安装防盗网的费用,老人、孩子单独在家也安全。
转载请注明出处51数据库 » 面间距计算软件 晶面间距的计算公式
仰望丶陨昕10991556



